Bluey
Member
- Thread starter
- #1
https://carbuzz.com/news/stellantis...er-two-speed-gearbox-for-electric-off-roaders
Stellantis is working on an advanced gearbox to make future electric off-roaders as capable as their ICE-powered counterparts. The patent was filed with the United States Patent and Trademark Office.
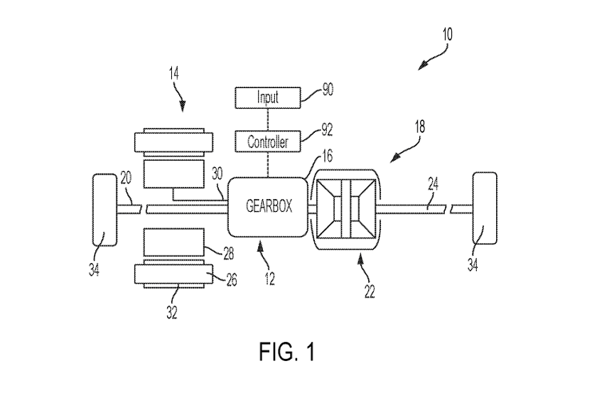
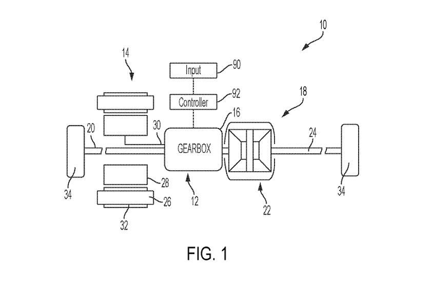
First spotted by Mopar Insiders, this gearbox could provide electric SUVs and trucks like the Jeep Recon and Ram 1500 REV with greater drivability in challenging terrain. Whereas most electric vehicles rely on a single-speed transmission, the design Stellantis is working on has two gears. In an off-roader, this is handy. A low-speed gear would be well-suited to off-roading, where one tends to do lots of low-speed maneuvers that require a lot of torque.
A second road-biased gear would allow the vehicle to operate as a regular electric vehicle. This is similar to a transfer case commonly used in rugged off-roaders, SUVs, and trucks. Having two speeds to choose from means Stellantis wouldn't have to compromise on the ratio of a single-speed gearbox, which could affect efficiency, range, and everyday performance.
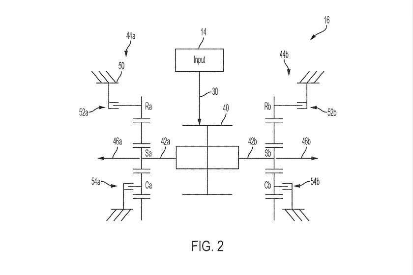
Stellantis' two-speed EV gearbox features two planetary gear sets. These both have independent clutches, each independently able to engage or disengage required on the terrain, enabling extremely sharp turns, which is ideal for tight maneuvers. Much like the Trail Turn Assist feature on the Ford Bronco and the G-turn in the upcoming Mercedes G-Class EV, this system would also be capable of spinning the vehicle around within its own footprint. Perhaps it's gimmicky to most users, but those who have been stuck off-road would rather have a feature like this than not.
Stellantis could use this two-speed gearbox in several upcoming cars, including the Recon, Ram's upcoming electric vehicles, and off-roaders from other Stellantis brands, such as an all-electric Durango successor.
When the gearbox is in its off-roading "crawl" mode, it has a 3:1 reduction ratio, allowing an electric off-roader to climb steep paths and crawl over large rocks easily. Once you're done conquering the great outdoors and it's time to head home, the on-road second gear can be activated with its 1:1 ratio.
Stellantis is working on an advanced gearbox to make future electric off-roaders as capable as their ICE-powered counterparts. The patent was filed with the United States Patent and Trademark Office.
First spotted by Mopar Insiders, this gearbox could provide electric SUVs and trucks like the Jeep Recon and Ram 1500 REV with greater drivability in challenging terrain. Whereas most electric vehicles rely on a single-speed transmission, the design Stellantis is working on has two gears. In an off-roader, this is handy. A low-speed gear would be well-suited to off-roading, where one tends to do lots of low-speed maneuvers that require a lot of torque.
A second road-biased gear would allow the vehicle to operate as a regular electric vehicle. This is similar to a transfer case commonly used in rugged off-roaders, SUVs, and trucks. Having two speeds to choose from means Stellantis wouldn't have to compromise on the ratio of a single-speed gearbox, which could affect efficiency, range, and everyday performance.
Stellantis' two-speed EV gearbox features two planetary gear sets. These both have independent clutches, each independently able to engage or disengage required on the terrain, enabling extremely sharp turns, which is ideal for tight maneuvers. Much like the Trail Turn Assist feature on the Ford Bronco and the G-turn in the upcoming Mercedes G-Class EV, this system would also be capable of spinning the vehicle around within its own footprint. Perhaps it's gimmicky to most users, but those who have been stuck off-road would rather have a feature like this than not.
Stellantis could use this two-speed gearbox in several upcoming cars, including the Recon, Ram's upcoming electric vehicles, and off-roaders from other Stellantis brands, such as an all-electric Durango successor.
When the gearbox is in its off-roading "crawl" mode, it has a 3:1 reduction ratio, allowing an electric off-roader to climb steep paths and crawl over large rocks easily. Once you're done conquering the great outdoors and it's time to head home, the on-road second gear can be activated with its 1:1 ratio.